| Sign In | Join Free | My enlightcorp.com |
|
Brand Name : Haiers
Model Number : 35W
Certification : CE & ISO13485
Place of Origin : Changzhou, China
MOQ : 1000pcs
Price : USD2.0/pc
Payment Terms : TT for trial order, TT or LC for bulk order, L/C, T/T, Western Union
Supply Ability : 10000pcs per month
Delivery Time : 15days after receipt of payment
Packaging Details : one piece in box, 5pcs in one carton
Product Name : Disposable surgical skin stapler with good price
Material : plastic
MOQ : 1000pcs
Sterile Way : EO
Leading time : 5-7days after receipt of the payment
Disposable surgical skin stapler & reusable remover manufacture
I. Product Description
Sterile Disposable skin stapler is a disposable equipment which applies to skin suture during general surgical operation, sardiothoracic surgery, plastic surgery, neurosurgery operation, gynecologic surgery, burn surgery, emergency operation and field rescue.
It can be used in operating room, delivery room, emergency department, outpatient surgery, and clinics.
II. Product Advantage
1. Simple and reasonable design, easy to operate
2. Small stitched wound, avoid injury to epidermal tissue again and good for wound healing
3. Smooth stitched wound and small scar after operation
4. Shorten time for operation and decrease the pain for patients
5. Disposable sterilized products, cheap and avoid the cross infection of many contagious diseases
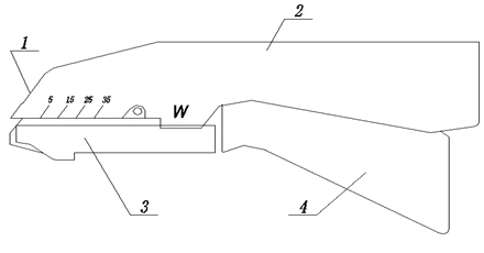
III. External Structure

1. Nail pusher 2. Fixed handle 3. Cartridge 4.Fire Handle
IV. Instructions for Use

V. Attention
1. The product is disposable. It can be used after open the sterilized packing. It is forbidden to use if the package is damaged.
2. The product is disposable and is sterilized by EO. The packing is sterile and sealed. There is “sterile” on the packing box and also on it. The date of sterilization and the caveat which said it is forbidden to use if the package is damaged are also on the packing box. Sterilization period of validity is three years.
3. This instruction is only for general introducing and it can not be the instruction of the operation. The operator should take correlative medical literature
4. Dispose the instrument after use.
VI. Storage
The product shall be stored in a well-ventilated room where no corrosive gases exist and relative humidity is not more than 80%.
VII. Specification Model & Manufacturer Contact Information
| Model | Specification | Type | Staple Specification | Staple Qty | |||
| Dia | Size after suture (L*h) | Tolerance | PC | Tolerance | |||
| HASPF | 35 | W | 0.6 | 7.3*4.0 | ±0.6 | 35 | ±3 |
| 45 | 0.6 | 7.3*4.0 | ±0.6 | 45 | ±3 | ||
| 35 | B | 0.6 | 7.3*4.0 | ±0.6 | 35 | ±3 | |
Manufacturer: Changzhou Haiers Medical Deveices
Address: No. 2188 Longcheng Rd, Zhonglou District, Changzhou City China
Tel: 0519-68860671
Fax: 0519-68881966
Zip Code: 213012
|
|
Disposable surgical skin stapler & reusable remover manufacture Images |